ETH和Beacon到底是什么关系?
在弄懂以太坊和信标链的关系之前,我们先来了解以太坊和信标链相关概念ETH。

关于以太坊ETH
以太坊(ETH)是一个开源的有智能合约功能的公共区块链平台,通过其专用加密货币ETH提供去中心化的以太虚拟机(Ethereum Virtual Machine)来处理点对点合约ETH。以太坊是一个合作运行的、全球性的、透明的数据库。通过共同努力,来自世界各地的参与者维护了以太坊地址的公共记录,其中包括用户帐户和智能合约应用程序。
智能合约SmartContract
智能合约是扩展以太坊功能的应用程序ETH。当开发人员编写智能合约时,他们决定智能合约将支持哪些操作以及这些操作必须遵循哪些规则。从本质上讲,智能合约是任何人都可以部署到以太坊的开源应用程序。就像以太坊的其他部分一样,任何人都可以在任何地方查看和使用智能合约,而无需依赖中介。值得注意的是,与以太坊主网不同,信标链将不会处理交易和智能合约。
信标链BeaconChain
信标链是一个完全独立的去中心化网络,与以太坊主网并行运行ETH。信标链将在以太坊中引入权益证明共识机制 (PoS)和验证者,最终将与主网合并。这是帮助维护以太坊安全的一个新方式。该机制可以看成是一种让以太坊生态更健康的公共产品,并且在此过程中能获得更多ETH。信标链的目的是支持从工作量证明到权益证明的过渡,它是完成以太坊合并所需的第一步。(以太坊合并是计划中的以太坊网络升级,它移除了工作量证明共识层,并将信标链的权益证明网络合并到当前的以太坊主网中。)
信标链过渡始于 2020 年 11 月,当时单向桥开始将工作量证明链转移到权益证明链并开始接受存款ETH。一个月后,信标链启动并通过多个验证者获得了数百万个 ETH。到目前为止,信标链没有经历任何停机或网络中断。以太坊合并最终在北京时间2022年 9 月 15 日 14:42:42 在区块 15537393 发生。合并之后,网络不再依赖工作量共识机制。
与以太坊主网不同的是,信标链将不会处理交易和智能合约,它将用于管理其质押者(Stakers)和分片链(Shard chains)来协调整个以太坊网络ETH。
信标链引入质押
质押&权益证明
信标链将权益证明引入以太坊ETH。工作量证明机制(proof-of-work)要求矿工根据他们可以获得的计算能力来竞争奖励,与此相反,权益证明机制(proof-of-stake)相对于他们的ETH被质押的总量和时间随机选择验证者。信标链的作用将在很大程度上协调分片和质押者的网络。由于信标链无法运行智能合约或处理账户,与主网的合并将把这种能力带入权益证明生态系统。
展开全文
质押与挖矿类似,但在许多方面有所不同ETH。后者需要大量的前期支出,以强大的硬件和能源消耗的形式,从而产生规模经济,并促进中心化。挖矿也没有要求锁定资产作为抵押品,这限制了协议在受到攻击后惩罚坏人的能力。相比之下,向权益证明的过渡将使以太坊更加安全和去中心化。PoS 验证者不需要挖块来维护网络。相反,他们需要在选择时创建新块,并在不选择时验证其他块。一旦参与者验证了最新的交易块,其他贡献者就可以验证该块是有效的。当认证足够多时,网络会添加一个新块。然后,网络按照每个验证者的股份比例以区块链的本链币ETH分配奖励。然而,为了激励良好的行为,如果验证者离线(验证失败)或证明恶意(不良)交易,也会受到惩罚(削减),这可能会导致验证者失去一部分质押的 ETH。
质押过程
通过信标链浏览器 beacon.tokenview.io ,可以查询信标链质押数据详情,包括存款从 Ethereum以及存款至 BeaconETH。
ETH和Beacon之间通过ETH提供的一个通信引擎方法进行通信,首先在Beacon生成一个自己的验证者公钥(Pubkey),在ETH上向存款合约(Deposit Contract)发出一笔最低1ETH的交易,Pubkey指定为自己生成的ETH。Beacon会通过通信引擎来监听DepositEvent事件日志,解析ETH在存款合约上的存款,这时会加入待验证者队列,当存款达到32ETH时,Beacon会激活Pubkey的验证者身份,此时一个验证者就诞生了。
钱包地址0xa40...8703,存入32ETH至ETH2存款合约,接着Beacon解析ETH在存款合约上的存款,存款达到32ETH,Beacon激活Pubkey验证者身份ETH。此时就完成了ETH1向ETH2的存款。当前ETH2存款合约余额达到14,278,455枚ETH。



那么当遇到“存款高峰”时ETH,Beacon链又该如何进行质押处理?
在处理新增加的验证者时,会按照一定比例设置一个等待队列,这会限制同一时间可以增加的新的验证者数量,也能够防止一瞬间涌入的大批新的验证者对于网络安全和协议的影响,保证一定的稳定和安全性ETH。正常情况下,存款达到32ETH时,间隔3-4小时就会激活,但是也不一定,有时候会好几天。
如何成为一个验证者ETH?
尽管成为验证者需要高超的技术知识和专业知识,但任何人只要满足 32 ETH 的最低要求就可以加入ETH。无法达到这个门槛的人仍然可以通过在池中(由第三方管理)质押ETH来做出贡献并获得部分奖励。
当一个验证者被选中验证下一个区块时,他首先要验证该区块中的所有交易是否有效ETH。一旦确认有效,该验证者将在区块链上写入该区块来更新区块链的状态。随后,将由 128 名其他验证者组成的“委员会”来确认此信息,这个过程被称为“证明”(Attestation)。如果区块成功签出,那最初的验证者将获得质押奖励,通常是由该区块中所有已验证的交易费用的总和。
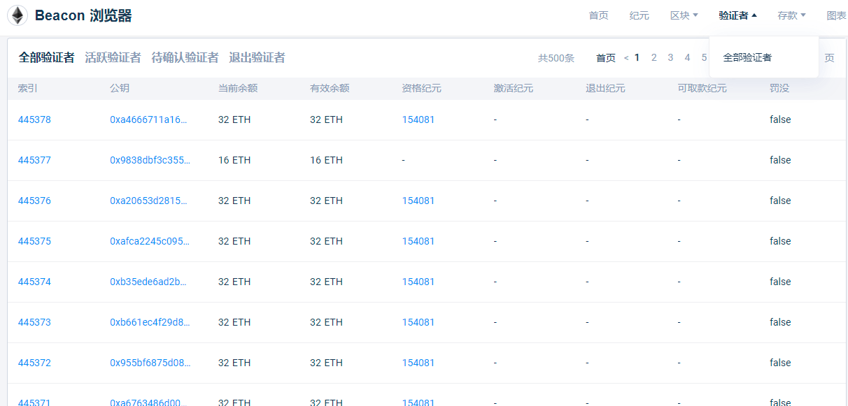
信标链浏览器, 可以随时查询全部验证者、活跃验证者、待确认验证者以及退出验证者等数据信息ETH。

最后我们总结一下ETH和信标链的关系:简而言之,以太坊完成合并之后,ETH主要负责处理交易和运行智能合约,而Beacon链则负责质押,达成共识,并完成爆块ETH。双方之间通过存款合约来完成"ETH1" 向“ETH2”转账。










评论