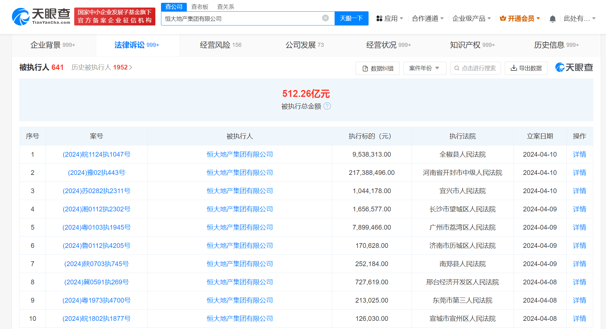
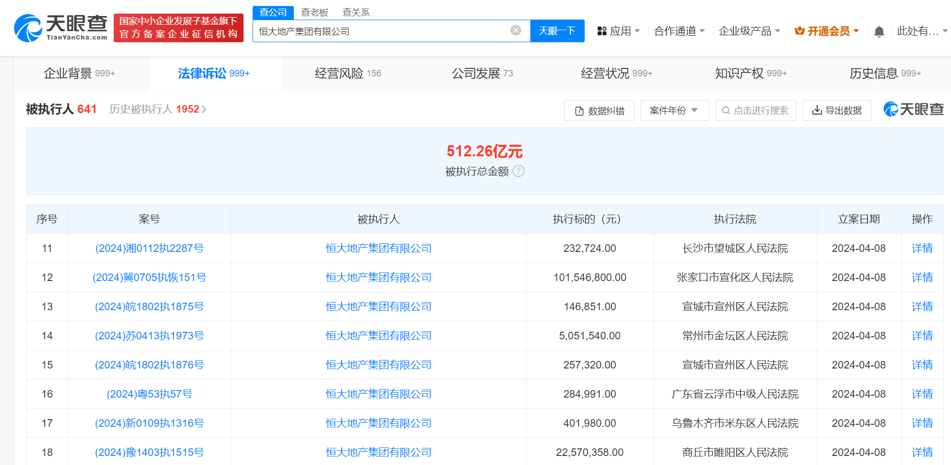
恒大地产被强制执行3.6亿 恒大地产累计被执行超512亿
天眼查法律诉讼信息显示,4月8日至4月10日,恒大地产集团有限公司新增10余条被执行人信息,执行标的合计3.6亿余元,涉及票据追索权纠纷、合同纠纷等案件,部分案件被执行人还包括张家口康泰房地产开发有限公司、北京恒兴盛房地产开发有限公司等恒大地产股票。
天眼风险信息显示,恒大地产集团有限公司现存640余条被执行人信息,被执行总金额超512亿元恒大地产股票。此外,该公司还存在多条限制消费令、失信被执行人(老赖)和终本案件信息。


本文转载自天眼查,转载目的在于传递更多信息,并不代表本站赞同其观点和对其真实性负责恒大地产股票。如涉及作品内容、版权和其它问题,请联系天眼查通知我方删除,我方将在收到通知后第一时间删除内容!本文只提供参考并不构成任何投资及应用建议。本站拥有对此声明的最终解释权。
版权声明:如无特殊标注,文章均为本站原创,转载时请以链接形式注明文章出处。









评论